Teil 1: Die Entwicklung der Rollenverschlüsse
Rollenverschlüsse sind bekannt durch innovative Waffensysteme deutscher Hersteller während des zweiten Weltkriegs und der Nachkriegszeit. MG42, G3 und MP5 sind populäre Beispiele für Waffen mit Rollenverschlüssen. Heute erfährt der Rollenverschluss eine Renaissance im dynamischen Schießsport.
Wie Alles Begann: Das MG 42


Abbildung 1: Maschinengewehr MG42. Das MG42 wurde 1942 bei der Wehrmacht eingeführt und wird bis heute in verschiedenen Entwicklungsstufen als MG3 in der Bundeswehr eingesetzt.
Quelle: Archangel12, https://www.flickr.com/photos/archangel12/5270978442/, 2025.
Der älteste Rollenverschluss, der weitläufig bekannt wurde, ist der Verschluss des Maschinengewehrs MG42. Das MG42 war ein Ersatz für das aufwändig zu fertigende MG34. Dieses hatte einen Drehkopfverschluss und war aus vielen Fräs- und Drehteilen gefertigt. Das war im Krieg zu teuer und dauerte zu lange. Neben der Methode des Blechprägeverfahrens für die meisten Teile wurde auch ein einfacheres System konstruiert. Beim MG42 ist es ein verriegelter Rollenverschluss. Das Verschlusssystem einer Feuerwaffe ist gedacht, um zu gewährleisten, dass der Verbrennungsdruck vollständig für die Beschleunigung des Projektils genutzt wird. Ohne funktionierendes Verschlusssystem würde der Verschluss öffnen, während das Projektil im Lauf ist. In diesem Fall würde ein Großteil der Verbrennungsgase nach hinten strömen, was im besten Fall zu einer schlechten Beschleunigung des Projektils führen würde. In schlechteren Fällen zu Schäden am Gerät oder an Personen.


Abbildung 2: Schnittmodell des MG42 Verschlusses. Zu erkennen sind die Verriegelung von Lauf und Verschlusskopf durch die Rolle und die Steuerkurve, die für das Einrücken der Rolle verantwortlich ist. Quelle: Edmond HUET, DCB Shooting, Quickload, 2025
Verriegelung
Kammer
Steuerkurve


Abbildung 3: Detailaufnahme des Rollenverschlusses zwischen Verschlusskopf und Lauf des MG42 in ausgebautem Zustand. Quelle: Darivs Architectvs - YouTube, https://www.youtube.com/watch?v=BERGobm537A&t=2s, 2025
Ein funktionierender Verschluss sorgt also dafür, dass der Verschluss solange geschlossen bleibt, bis das Projektil den Lauf verlassen hat und der Druck im Lauf so weit abgesunken ist, dass ein Öffnen der Waffe sicher ist. Beim MG42 verriegeln Verschluss und Lauf über bewegliche Rollen miteinander vor der Schussabgabe. Bei Schussabgabe gleitet das Paket durch den Rückstoß zurück. In dieser Rückwärtsbewegung werden über Steuerflächen die Rollen in den Verschluss gedrückt, wobei die Verbindung zwischen Lauf und Verschluss getrennt wird. Der Verschluss läuft weiter zurück, wirft die abgeschossene Hülse aus und bleibt hinten stehen, falls der Feuerstoß beendet ist (zuschießende Waffe), oder gleitet wieder nach vorne und führt die nächste Patrone ein. Beim Einführen der Patrone in das Patronenlager verriegeln die Rollen wieder mit dem Lauf. Ist die Verriegelung abgeschlossen, wird die Patrone gezündet.


Abbildung 4: Skizzierter Mechanismus des Systems des MG42. Der Verschluss wird durch die Verschlussfeder in die vordere Stellung gedrückt. Das Steuerstück im Verschluss drückt durch die Federkraft die Rollen nach außen. Lässt die Steuerkurve im vorderen Bereich des Gehäuses das Ausrücken der Rollen zu, verriegeln diese mit dem Lauf. Bei Schussabgabe werden durch den Rückstoß Lauf und Verschluss zusammen nach hinten geschoben. Die Steuerkurve des Gehäuses drückt die Rollen in den Verschluss, diese trennen so den Verschluss vom Lauf. Quelle: Tactical and Technical Trends, No. 31, August 12, 1943.
Obwohl das System des MG42 bis heute für seine Funktionssicherheit bekannt ist, wurde bereits während des Zweiten Weltkriegs in Deutschland nach Möglichkeiten gesucht, den Rollenverschluss weiter zu vereinfachen, um Kosten zu senken. Der Prototyp MG45 bekam bereits einen beweglich abgestützten Rollenverschluss. Dieses System ist der klassische rollenverzögerte Masseverschluss, an den die meisten beim Wort "Rollenverschluss" denken. Streng genommen sind diese Verschlüsse keine echten Rollenverschlüsse, da die Massenträgheit zur Verzögerung genutzt wird und das Gassystem nicht durch Rollen verriegelt wird. Das MG45 wurde nie in Serie gebaut und auch der Prototyp des Sturmgewehrs 45 mit ähnlichem System erreichte die Serienreife nie.
Eintritt in die Moderne: HK G3


Abbildung 5: Frühe Version des Heckler und Koch G3 mit Holzschäftung. Das HK G3 wurde lange Zeit in der Bundeswehr als Ordonanzwaffe eingesetzt und ist heute auf der ganzen Welt verbreitet. In der Nachkriegszeit entwickelt, sind die Fertigung nach Blechprägeverfahren und der verzögerte Rollenverschluss des HK G3, Zeugen der Entwicklungen des zweiten Weltkriegs. Quelle: Armémuseum (Swedish Army Museum), https://digitaltmuseum.se/011024403512/automatkarbin-fm-1960, 2025.
Aus den Entwicklungen zum Ende des Zweiten Weltkriegs entstanden in der Nachkriegszeit diverse Maschinen- und Sturmgewehre, die mit einem verzögerten Masseverschluss mit Rollenübersetzung arbeiteten. Einige davon sind bei Recherche schnell zu finden, da sie wichtige Meilensteine in der Geschichte des Verschlusssystems darstellen, aber keines ist so bekannt und verbreitet wie das G3 der Bundeswehr von Heckler und Koch. Das HK G3 wurde in weiten Teilen im Blechprägeverfahren gefertigt und besitzt einen verzögerten Masseverschluss mit Rollenübersetzung. Die Entwicklungen der deutschen Ingenieure bis 1945 sind in dieser Waffe bis zur Serienreife vorangetrieben worden. Mit dem jahrzehntelangen Einsatz in der Bundeswehr und einer weltweiten Verbreitung ist das HK G3 das erste große Beispiel für den Einsatz dieses Verschlusssystems.


Abbildung 6: Skizze des Verschlusssystems des HK G3. Der Verschlusskopf schließt die Kammer ab und wird durch die Rollen im Gehäuse gestützt. Die Verschlussfeder drückt das Steuerstück und Verschlussträger gegen den Verschlusskopf und drückt gleichzeitig durch die Steuerflächen die Rollen nach außen. Illustration: Auge=mit, 2025. Quelle: Zentrale Dienstvorschrift der Bundeswehr, BMI, 1999
Beim Verriegelungssystem des G3 haken die Rollen nicht mehr in das Ende des Laufs ein und verbinden diesen mit dem Verschlusskopf. Der Verschlusskopf liegt hier am Lauf an und die Rollen liegen bei geschlossenem Verschluss in Taschen des Systems. Wie beim System des MG42 werden die Rollen durch Federdruck mit den schrägen Flächen des Steuerstücks nach außen gedrückt. Auch hier sind Steuerstück und Verschlussträger eine mechanische Einheit, die durch die Systemfeder mit Federkraft belastet ist. Beim Schuss wirkt auf den Verschlusskopf die Kraft des Gasdrucks mit Kraftrichtung entgegen der Schussrichtung. Durch die Rollen in den Taschen ist eine Bewegung des Verschlusskopfes nicht möglich. Daher werden diese durch die Kraft, die auf den Verschlusskopf wirkt, aus den Taschen heraus nach innen gedrückt. Damit die Rollen in den Verschluss einrücken können, muss das Steuerstück Platz machen und nach hinten gleiten. Die schrägen Flächen des Steuerstücks erzeugen einen Hebel, der die Einrückbewegung der Rollen nach innen auf die Rückwärtsbewegung des Steuerstücks und des Verschlussträgers übersetzt. Durch die Übersetzung wird die Geschwindigkeit des Einrückens der Rollen bestimmt und somit das Öffnen des Verschlusses verzögert. Sind die Rollen eingerückt, kann der Verschlusskopf nach hinten gleiten und die Hülse auswerfen.


Abbildung 7: Schnittmodell des Verschlusses des HK G3. Zu sehen sind der Verschlusskopf im geschlossenen Zustand, die Verzögerungsrolle in der Tasche, ein Teil des Steuerstücks und die Kammer mit den typischen Druckausgleichrillen. Quelle: Quickload (Wikipedia User),
https://en.wikipedia.org/wiki/Heckler_%26_Koch_G3#/media/File:DCB_Shooting_G3_Roller_system3.JPG, 2025
Druckausgleichrillen
Steuerstück
Verschlusskopf
Tasche
Da der Gasdruck bereits unmittelbar bei Zündung der Patrone auf den Verschlusskopf wirkt, setzt der Öffnungsprozess sofort ein und der Verschlusskopf bewegt sich minimal nach hinten. Da der Gasdruck die Hülse an die Wand der Kammer presst, wird sie großflächig durch die Reibung festgehalten. Bewegt sich gleichzeitig der Verschlusskopf mit eingehaktem Hülsenrand nach hinten, kann es zum Abriss des Hülsenbodens kommen. Deshalb sind im Patronenlager des G3 Druckausgleichrillen eingearbeitet, welche einen Druckausgleich zwischen Hülseninnen- und -außenwand ermöglichen. Der Druckausgleich unterbindet das Anpressen der Hülse in der Kammer, sodass sich die Hülse mit dem Verschlusskopf bewegen kann und ein Abriss verhindert wird.
Legende und Maßstab: HK MP5


Abbildung 8: Gezeigt ist eine Heckler und Koch MP5. Typisch für Waffen von HK die in den 60ern entwickelt wurden, ist diese Maschinenpistole aus vielen Blechprägeteilen gefertigt. Die MP5 ist eine der bekanntesten Maschinenpistolen weltweit und ist seit ihrer ersten Einführung 1964 bis heute im Einsatz. Quelle: Samuli Silvennoinen derivative work: Hic et nunc,
https://en.wikipedia.org/wiki/Heckler_%26_Koch_MP5#/media/File:Heckler_&_Koch_MP5-1.jpg, 2025.
Nach dem G3 gelang Heckler und Koch ein weiterer großer Wurf, mit der Entwicklung der HK MP5. Für die Ausschreibung der Bundeswehr für eine Maschinenpistole im Kaliber 9 mm Luger nutzte Heckler und Koch ihre Erfahrungen aus der Entwicklung und Produktion des Sturmgewehrs G3. So nutzt die MP5 dasselbe Verschlusssystem wie das G3, mit neuer Abstimmung auf die 9 mm Patrone.
Die HK MP5 ist bis heute im Einsatz und neben der Uzi die wohl bekannteste Maschinenpistole der Welt. Mit dem Erfolg kam eine riesige Nachfrage und die Entwicklung von verschiedensten Modellen für diverse Einsatzprofile. Die bekanntesten Modifikationen sind die MP5K, mit einem sehr kurzen Lauf und ohne Schulterstütze als Waffe für Personenschützer, und die MP5SD mit Schalldämpfer, über die ich bereits einen Beitrag veröffentlicht habe. Bis heute ist die MP5 für ihr weiches Schussgefühl mit wenig Hochschlag bekannt. Insbesondere die MP5SD soll extrem angenehm zu schießen sein, und das auch im vollautomatischen Modus.
Das weiche Schussgefühl der Plattform lässt sich natürlich einerseits durch die kleine 9 mm Patrone erklären. Was sie aber von anderen Maschinenpistolen bzw. Pistol Caliber Carbines (PCC) abhebt, ist der Rollenverschluss.


Abbildung 9: Schulungstafel zum Verschlusssystem der HK MP5. Der Mechanismus ist analog zum Verschluss des HK G3 und wurde angepasst auf die 9 mm Luger Patrone. Beim Schuss wirkt der Gasdruck auf den Verschlusskopf, dessen Bewegung durch die Rollen verzögert wird. Durch die Kraft auf die Rollen werden diese nach innen gedrückt. Die Rollen beschleunigen dabei über die schrägen Flächen das Steuerstück. Quelle: Heckler und Koch, 2010


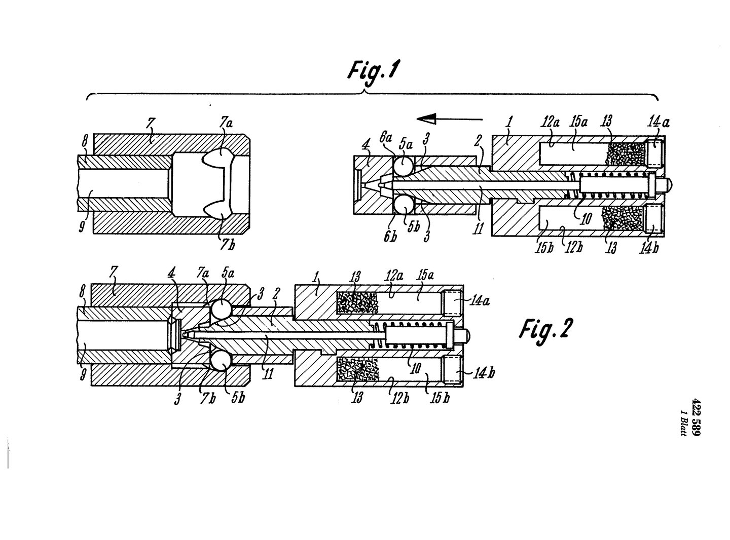
Abbildung 9: Patentzeichnung von Heckler und Koch zum Verschluss der HK MP5. Interessant ist die Füllung des Verschlussträgers mit Wolframgranulat (13). Diese soll bei Dauerfeuer den Verschlussträger durch die Massenträgheit des Wolframs nachdrücken, um ein Rückfedern der Rollen in den Verschluss zu verhindern. Es ist wohl unter Dauerfeuer möglich, dass beim schließen des Verschlusses ein Zurückfedern der Rollen möglich ist, während die Patrone bereits gezündet wird. Quelle: Patent CH1380764A, https://worldwide.espacenet.com/patent/search/family/007157450/publication/CH422589A?q=pn%3DCH422589A, 1964.
In den meisten PCC werden reine Masseverschlüsse eingesetzt, da die nötige Masse zum Verzögern der 9 mm Patrone in typischen Verschlussträgern unterzubringen ist. Weiter vereinfacht ein Masseverschluss die Konstruktion und die Fertigung deutlich. Bei diesem System wird die frühzeitige Rückwärtsbewegung des Verschlusses bei Schussabgabe rein über die Masseträgheit des Verschlusses verhindert. Durch die hohe bewegte Masse im Gehäuse, dem schlagartigen Öffnen des Verschlusses durch den Druck des Schusses und dem Anschlagen der Verschlussmasse im hinteren und vorderen Anschlagspunkt, entsteht ein unruhiges Schussgefühl.
Im Fall des beweglich abgestützten Rollenverschluss kann durch die Verzögerung des Verschlusskopfes über den Hebel der Rollen ein deutlich leichterer Verschluss eingesetzt werden. Die geringe bewegte Masse und die über das Steuerstück gesteuerte Beschleunigung des Verschlussträgers sorgen für ein ruhigeres Schussgefühl mit weniger Hochschlag.


Abbildung 10: Nachbau Ersatzverschluss für die HK MP5 von RCM. In Schwarz gehalten ist der Verschlussträger mit der Verschlussfeder, welche den Verschluss in die Vordere Position drückt. In blankem Stahl ist der Verschlusskopf zu sehenm, mit den Verschlussrollen in eingefahrenem Zustand. Quelle: RTG Parts, https://www.robertrtg.com/rcm-mp5-9mm-bolt-group-complete-new, 2025
Ein Nachteil dieser sehr wirksamen Verzögerung und der geringen Auszugsgeschwindigkeit der Hülse ist, dass der Impuls zu gering für eine einwandfreie Funktion der Waffe ist. Das kann der Fall sein, wenn zu schwache Munition verwendet wird oder sich die innenballistischen Gegebenheiten ändern. Ersteres könnte der Fall sein, wenn z.B. Unterschallmunition verwendet wird oder Munition mit sehr leichten Geschossen. Zweiteres ist beispielsweise der Fall für die Varianten der MP5 mit besonders kurzem Lauf oder die SD-Variante. Bei kürzerem Lauf reduziert sich der Gasdruck und die Zeit, in der dieser im System ansteht. Noch extremer ist es im Fall der MP5SD, bei der ein Teil der Verbrennungsgase über Bohrungen im Lauf entspannt wird, um die Beschleunigung der Geschosse auf Schallgeschwindigkeit zu verhindern.
Durch den geringeren Gasdruck steht weniger Kraft zum Öffnen des Verschlusses zur Verfügung. Wird der Gasdruck weiter zum Großteil für die Beschleunigung des Steuerstücks und des Verschlussträgers genutzt, reicht der Gasdruck nach Einzug der Rollen nicht aus, um die Waffe zuverlässig zu öffnen. Daher werden in den verschiedenen Varianten der MP5 spezielle Steuerstücke verbaut. Diese haben einen angepassten Winkel der Steuerfläche, wodurch der Hebel angepasst wird. Je geringer der Gasdruck, desto steiler wird das Steuerstück, um den Verschlusskopf früher freizugeben und weniger Energie durch die Beschleunigung des Verschlussträgers abzubauen.




Abbildung 12: Steuerstücke für die HK MP5 von RCM mit verschiedenen Winkeln der Steuerflächen. Je nach Konfiguration der MP5-Modelle ist eine eigene Abstimmung der Verschlussgruppe nötig. Hier sind jeweils Steuerstücke für die HK MP5 SD mit geportetem Lauf und Schalldämpfer (115°) und einer kurzen PDW-Variante (110°) zu sehen. Durch die verschiedenen Winkel der Steuerstücke wird der Weg des Steuerstücks bestimmt, um die Rollen zu entriegeln. Quelle: RTG Parts, https://www.robertrtg.com/rcm-mp5k-locking-piece-110-degree, 2025
Besonders das weiche Schussverhalten in Kombination mit dem Pistolenkaliber 9x19 mm und die Möglichkeiten der Anpassung auf die Laborierung macht dieses System für den Schießsport interessant. Im nächsten Teil werden wir uns anschauen, wie das wachsende Interesse an der sportlichen Nutzung von Pistol Caliber Carbines die Weiterentwicklung des Rollenverschlusses vorantreibt.